Analytical Results of Oscillatory Behavior in the Wilson-Cowan Model
Overview
This project explores the oscillatory behavior of neuronal populations using a modified Wilson-Cowan model. The study investigates the conditions under which limit cycles (representing oscillatory neural activity) occur, focusing on both theoretical analysis and simulation results.
Objectives
- Understand how excitatory and inhibitory neuron populations interact to produce oscillations.
- Identify conditions leading to Hopf bifurcations and limit cycles.
- Analyze specific and general cases using both analytical methods and computational simulations.
Key Concepts
- Wilson-Cowan Model: Describes the interaction between excitatory (E) and inhibitory (I) neuron populations using nonlinear differential equations and a sigmoidal response function.
- Limit Cycles: Oscillatory behaviors represented as closed trajectories in the phase plane.
- Hopf Bifurcation: A critical condition where a stable equilibrium becomes unstable and a limit cycle emerges.
Wilson-Cowan Model Equations
where:
- ( x(t) ) and ( y(t) ): fractions of excitatory and inhibitory cells firing at time ( t )
- ( S(\theta') = \frac{\theta'}{\sqrt{\theta'^2 + 1}} ): sigmoidal response function
Case Study: No External Stimuli (I = 0, J = 0)
- The self-excitatory factor w is varied to study its impact.
- Results:
- Oscillatory behavior (limit cycles) occurs when w > d and γ > 1 (where γ is a parameter ratio).
- The period of oscillation increases as w increases within the range.
- Confirmed using Mathematica and Python simulations.
Nullcline Equations

Figure: Nullclines at a=0.1, b=1, c=1, d=0.1, w=1, I=6, J=4.

Figure: T-D plane and regions of stability.

Figure: Simulation results for w = 0.1, 2.7, and 1 respectively.

Figure: Ring-shaped region and limit cycle with example parameters.
Additional Findings
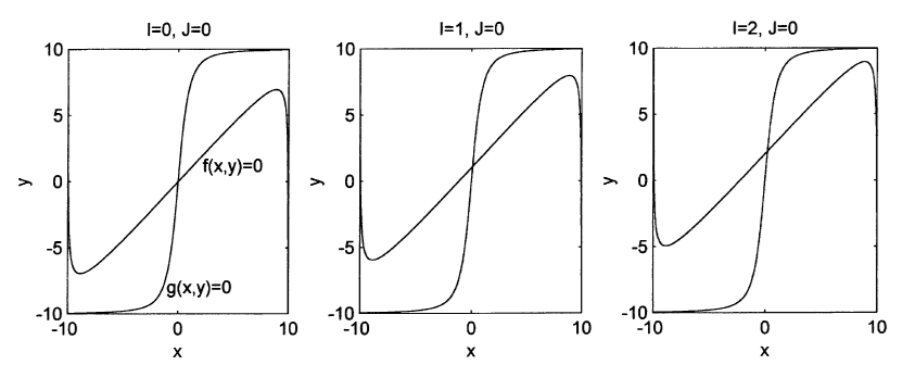
- When J = 0 and I varies:
- Limit cycles exist within a specific I-range: I ∈ [-2.98, 2.98].
- When I = 0 and J varies:
- Limit cycles exist within J ∈ [-7.22, 7.22].
- Self-excitation (w > 0) is essential for oscillatory behavior; no cycles occur when w = 0.
Jacobian and Bifurcation Condition
The Jacobian matrix is:
For Hopf bifurcation:
- Trace ( T = 0 )
- Determinant ( \Delta > 0 )

Figure: Period vs. w relationship from Monteiro et al. (2002).

Figure: Dynamics of the system with w=0.6, showing limit cycle formation.

Figure: Oscillatory behavior of excitatory and inhibitory cells.

Figure: Period vs. I relationship from Monteiro et al. (2002).

Figure: Period vs. J relationship from Monteiro et al. (2002).
Conclusion
The Wilson-Cowan model with modifications demonstrates that cortical columns can exhibit intrinsic oscillatory behavior. Oscillations and their periods are sensitive to self-excitation and external stimuli. This suggests a mechanistic insight into how neuronal assemblies may synchronize to process sensory inputs.
The original report
PDF preview unavailable in this view. Please download instead: